
中国是全球最大的大宗商品进口国,但目前全球大宗商品基准价格的定价权仍集中在伦敦、新加坡、纽约等国际金融中心。中国方面希望进一步增强自身对大宗商品价格的影响力,而此次开放举措也与提升人民币国际吸引力的目标相辅相成。
公募基金Top50重仓股:科技成长与高端制造核心方向 超千只基金持有宁德时代、中际旭创、紫金矿业
文|《BUG》栏目 闫妍
一袋挂面,一个商标,一场对于“诞妄宣传”的争议,将著明食物企业今麦郎推上了公论的风口浪尖。
近日,南京奢靡者陈先生购买今麦郎“手打挂面”后,因未吃动手工面口感质疑家具宣传。对此,今麦郎客服恢复称,该款挂面属于车间活水线出产的工业食物,“手打”是家具称呼,仅为注册商标,和手工工艺并无关联。
昨天,今麦郎集团董事长范现国发布视频恢复。他称,“手打”商标是2006年注册,依然用了20年。“咱们决定不再使用‘手打’商标,从4月2日凌晨起,咱们会立即罢手出产统共带有‘手打’商方针家具。”
本日,《BUG》栏目发现,各大今麦郎官方旗舰店已下架该家具。但对于商场上现存的库存家具若何处理,企业尚未公布具体决策。
值得提神的是,不论是范现国的恢复如故客服调换,均未对此暗示歉意。在外交媒体上,不少奢靡者对今麦郎使用20年“手打”商标感到不悦。“骗了咱们20年,品牌到今天也莫得确切的说念歉。”还有网友留言,“看这架势,无意大众应该给这种诈欺行径点赞似的。”
此外,范现国将此归因于“时期跳跃,奢靡者领会栽植,家具也必须跟上时期步调”,该言论雷同让东说念主不悦,有网友在外交媒体直言,“06年注册,依然用了20年,刻下说奢靡者领会栽植,意道理味即是刻下奢靡者不好骗了?”
董事长承认“手打”是商标,曾因此被判赔
事情的启事,源于南京奢靡者陈先生的一次日常购物。
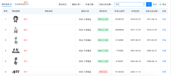
近日,南京的陈先生在超市购买一款手打挂面,回家后没吃动手打面的嗅觉,检讨外包装后才发现,所谓“手打”挂面仅仅商家玩的笔墨游戏,在“手打挂面”四字右上角,有一个不起眼的注册商标记号®。
对此,今麦郎客服恢复称,该款挂面属于车间活水线出产的工业食物,“手打”是家具称呼,仅为注册商标,和手工工艺并无关联。
天眼查信息显现,2002年到2023年间,今麦郎食物股份有限公司已陆续注册多个“手打”字样商标,使用范畴均为浅陋食物类,注册本事跨度超20年。
此外,这并非该品牌第一次因“手打”秀气堕入纠纷。早在2018年就有奢靡者因购买的“手打面”实为机制挂面拿告状讼,法院最终认定家具标签标示违背《中华东说念主民共和国食物安全法》,判令商家退一赔十,抵偿金额超1.1万元。
面对公论发酵,今麦郎集团董事长范现国于4月1日发布视频,公开恢复此事。
范现国在视频中坦言,“手打”商标是今麦郎在2006年注册的,于今已使用了整整20年。他同期晓喻:企业将不再使用这一商标,从4月2日凌晨起,立即罢手出产统共带有“手打”商方针家具。
但对于商场上现存的库存家具若何处理,企业尚未公布具体决策。对此,《BUG》栏目以奢靡者身份向今麦郎官方旗舰店客服进行接洽,对方暗示刻下店内依然莫得“手打”挂面家具售卖,关系家具齐已下架。谈及之前购买“手打”商标关系家具是否不错肯求退货,对方并未正面恢复,只暗示“未拆封家具齐支合手7天很是由退货。”
讼师:“这是典型的坐法告白”
从法律角度来看,今麦郎“手打”商标是否正当合规?这个商标合作今麦郎包装上的“无意姆妈的手打面”宣传语,是否组成“诞妄宣传”?
着名讼师、财经作者郭勤贵向《BUG》栏目暗示,“最初,‘手打’作为商标自身,就存在显着法律差错。凭证《中华东说念主民共和国商标法》第十条第一款第七项,带有诈欺性、容易让公众对商品工艺、质地产生误认的标志,照章不得作为商标使用。今麦郎家具实践为机器出产,却使用‘手打’商标,实践上即是对出产工艺的误导性形势。”
他进一步分析称,“合作包装上‘无意姆妈的手打面’这句宣传语,依然组成《告白法》所谢绝的引东说念主污蔑的诞妄宣传。判断范例很闪现:一是宣传内容与实践出产工艺不符;二是足以让平常奢靡者误以为是手工制作;三是抵奢靡决策产生实质性影响。应允这三点,就属于典型的坐法告白。”
郭勤贵指出,对于依然流入商场的家具,企业面对三重包袱:第一,因为不触及食物安全问题,法律上不彊制要求调回;第二,但企业应手脚出明确证实,见知奢靡者“手打”是商标而非实践工艺,幸免持续误导公众;第三,如若奢靡者因受误导要求退货,山东股票配资企业负有法律义务合作办理退货退款。误导性宣传自身组成民事讹诈,奢靡者照章有权主意退款,以致在相宜条款时主意刑事包袱性抵偿。
广东省食物安全保险促进会副会长、中国食物产业分析师朱丹蓬向《BUG》栏目暗示,“在中国快消品行业步入高度内卷的节点,若何得手出圈?若何管理奢靡者痛点?这无疑是各企业心劳计绌想考的问题,从今麦郎的案例来看,不难发现它果然阿谀了中国奢靡者的中枢需求,更多的是欺骗了奢靡者的奢靡想维的痛点,进行了精确的营销。但我觉得这种作念法有些过甚其辞,以致存在误导奢靡者的嫌疑。”
值得提神的是,今麦郎“手打挂面”争议也并非个例,在奢靡范畴“心计商标”的快活频出,仍存在打“擦边球”的惯性。此前,白象多量袋面、多量桶面系列家具包装上显现“多量”为注册商标;潘婷“三分钟遗迹”洗发水家具后面用小字标明三分钟遗迹是注册商标,但家具称呼并不是功效声称,齐激勉了公众热议。
郭勤贵觉得,这个案例对统共这个词食物行业的警示极端平直,主要体刻下三个方面:
第一,商标不是“宣寄语术”,不行用来形势工艺、品性、口感。像“手打”“手工”“鲜榨”“无添加”这类形势性词汇,注册成商标自身就存在极高的被宣告无效和行政处罚风险。
第二,宣传语必须坚合手真实、准确、可考证,不行打擦边球、玩笔墨游戏。《告白法》第二十八条明确谢绝任何引东说念主污蔑的宣传,一朝误导,就可能面对罚金、索赔、商誉受损的处罚。
第三,企业在商标注册、包装野心、告白语拟定前,必须进行严格的法律合规审查,幸免用营销创意替代法律底线。合规,才是品牌最稳的永久竞争力。
商场份额缩水,成本化进度屡次受阻
今麦郎开导于1994年,从河北隆尧的一家县级面粉加工场起步,冉冉发展为中国浅陋食物行业的头部企业之一,家具涵盖浅陋面、挂面、饮品等多个品类。
据公司官网先容,品牌工场遍布天下18个省份,现已在天下建有26个出产基地,57个工场,职工近2万东说念主。浅陋面年产能120亿份,位居世界前三强,饮品年产能2000万吨,年处理小麦400万吨。家具销售遍布天下,并远销40多个国度和地区。
优配官网据河北省工生意合伙会公布的积年民营企业100强榜单,2019—2021年,今麦郎投资有限公司的营收分离为218.488亿元、240.429亿元和241.455亿元。然而自2022年起,其营收运动两年下滑。2022年降至190.76亿元,2023年进一步下滑至165.7亿元,相较于2021年的巅峰已下滑31.4%,两年缩水超75亿元。在2024年的河北民营企业100强榜单中,未公布企业具体营收情况。
营收下滑的背后,是今麦郎传统救助业务浅陋面商场份额正合手续萎缩。2024年行业数据显现,白象以130亿元营收越过息争,跃居行业第二;而今麦郎自2023年起已滑落至第四位,逾期于康师父、息争和白象。
投入2025年,今麦郎仍未扭转劣势。数据显现,2025年第四季度,中国浅陋面商场CR5(康师父、息争、白象、今麦郎、三养)聚会度高达84.18%,今麦郎仍位居第四。更值得警惕的是,死后的追兵正在提速,三养靠火鸡面撬动年青商场,五谷说念场、阿宽食物等新兴品牌凭借品类改造,正从不同维度对今麦郎变成“合围”之势。
成本商场的派头,则更直不雅地响应了外界对今麦郎出路的疑虑。自2017年晓喻运转IPO运筹帷幄以来,今麦郎屡次传出上市谋略音信,却因功绩波动、商场质疑等问题迟迟未能成行。比较之下,其“老敌手”康师父、息争早已得手登陆成本商场。
面对增长窘境,今麦郎集团董事长范现国曾建议攫金不见人的指标:“中国事一个领有14亿东说念主口的超等商场。快消行业将来一定会出现更多的千亿级企业。今麦郎应该成为‘千亿俱乐部’的一员。我但愿今麦郎在2030年达成咱们的千亿梦。”然而,以刻下200亿傍边的体量来看,距离千亿指标尚有雄伟差距。
更令东说念主担忧的是,在冲刺IPO和千亿指方针流程中,今麦郎对食物安全的把控反而出现了松动,用户口碑合手续承压。
据媒体报说念,2022年8月,济宁市兖州区东说念主民法院表露的一份判决书显现,今麦郎兖州公司两名职工,为了不奢靡食材,不被罚金,瞒报废物(面头)真实数据,同谋从厂区拉出百余吨不对格浅陋面出售。此外,今麦郎多批次浅陋面还曾被检测出酸价超标。
而在黑猫投诉 【下载黑猫投诉客户端】平台上,触及今麦郎的奢靡者投诉高达1700多条,其中有广博奢靡者响应在今麦郎浅陋面中发现异物、家具过期、家具变质、诞妄宣传等问题。
朱丹蓬向《BUG》栏目暗示,“频年来,如实有好多企业在打造互异化、栽植品牌溢价、试图颠簸奢靡者心弦。但总体来看,企业最初要作念到合规、正当、合理。不然的话,经不起奢靡者的接洽,也经不起商场的磨真金不怕火,更酸心国度监管这一关。是以,举座而言,我觉得企业如故应安身现实,鲁人持竿把品性、营销和供应链作念好。”
海量资讯、精确解读,尽在新浪财经APP
包袱剪辑:刘万里 SF014聚盈策略
宏泰证券10大配资公司启盈优配佳成网配资珺牛资本盈富优配提示:文章来自网络,不代表本站观点。